Введение
Математическое моделирование интенсивно совершенствуется и успешно внедряется в разнообразные сферы деятельности – от проектирования технических устройств до исследования сложных социально-экономических процессов [1]. Интенсификация процесса очистки промышленных сточных вод также может реализовываться посредством применения современных программ, предназначенных для компьютерного моделирования [2; 3]. Благодаря применению таких инструментов стало возможным анализировать работу таких аппаратов, усовершенствовать режимы их работы.
Постановка задачи математического моделирования подразумевает четкую последовательность шагов, предложенную, например, А.А. Самарским [4, с. 7]. Для реализации более точного и реалистичного моделирования необходимо правильно подобрать программную среду, в которой будет осуществляться построение геометрии исследуемого аппарата, задание граничных условий, а также генерироваться сеточная модель.
Цель исследования – провести сравнительный анализ специализированных программных инструментов, используемых для разработки трехмерных моделей, совместимых с системами автоматизированного инжинирингового анализа и вычислений, что потребовало создать рабочую расчетную модель, подходящую для последующего использования в комплексных инженерных исследованиях.
Материалы и методы исследования
Один из способов интенсификации очистки сточных вод – использование комбинированных флотационных аппаратов, предложенных Б.С. Ксенофонтовым [5, с. 49–76; 6; 7]. Сочетание различных методов флотации в одном устройстве позволяет получить высокую степень очистки воды от различных загрязняющих веществ. Принцип их работы отличается, но основан на использовании процесса флотации.
Для модернизации различных конструкций флотатора комбинированного действия посредством компьютерного моделирования в первую очередь необходимо проанализировать различные программные инструменты, которые позволят достаточно точно воспроизвести гидродинамику в флокомбайне, как один из основных критериев успешного протекания флотационной очистки.
Можно выделить три ключевые системы, необходимые для полноценного моделирования любых изделий и процессов на персональном компьютере:
1. CAD (Computer-Aided Design) – предназначено для конструирования двух- и трехмерных моделей продукции и составных частей изделия на компьютере.
2. CAM (Computer-Aided Manufacturing) – служит для формирования управляющих команд для станков и оборудования, автоматизирует производственные процессы на основе готовых 3D-моделей, полученных в CAD-среде.
3. CAE (Computer-Aided Engineering) – охватывает область анализа и симуляционного тестирования конструктивных и технологических аспектов. Включает расчеты прочности, теплового режима, гидравлических характеристик и другие виды инженерного анализа.
Для осуществления компьютерного моделирования был выбран ANSYS Fluent, как один из наиболее распространенных программных продуктов в области вычислительной гидродинамики [8; 9]. Реализация достоверных результатов также зависит от правильной настройки аппарата и в CAD-редакторе.
Были проанализированы основные инструменты для двух- и трехмерных моделей, такие как SolidWorks, Autodesk Fusion 360, AutoCAD [10–12]. Также рассмотрена отечественная система автоматизированного проектирования Компас-3D [13] и Gambit, как программа, разработанная компанией Fluent Inc [14]. Вопрос о создании компьютерной геометрии рассматривался с точки зрения генерации расчетной сетки, задания граничных условий, а также интеграции в ANSYS Fluent.
Результаты исследования и их обсуждение
Для визуализации комбинированного флотационного аппарата в трехмерном формате используем Autodesk Fusion 360, как один из самых гибких и мощных инструментов для проектирования инженерных конструкций (рис. 1).

Рис. 1. Визуализация исследуемого флотатора комбинированного действия Примечание: составлен автором по результатам исследования
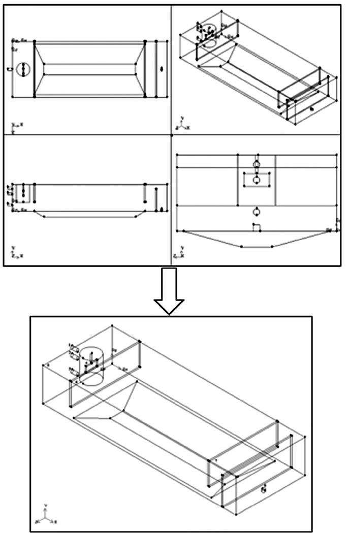
Чтобы реализовать математическое моделирование процесса флотации, важно провести серию вычисленных экспериментов. Полученные данные позволят детально изучить поведение среды в аппарате, включая распределение скоростей водных потоков и водовоздушной смеси, распределение фазы воздуха и градиенты скоростей. Основная задача состоит в построении точной геометрической модели рабочей зоны устройства, необходимой для последующего анализа в программе ANSYS Fluent. Геометрия создается с использованием специализированного CAD редактора Gambit, позволяющего точно задать конфигурацию и детали проектируемого аппарата. Этот этап является ключевым для успешного проведения последующих расчетов и обеспечивает точность полученных результатов.

Рис. 2. Геометрия рабочей области исследуемой модели Примечание: составлен автором по результатам исследования
Флотатор комбинированного типа оснащен рабочим объемом, представляющим собой специальную полость, заполненную водой в качестве основной среды.
Габариты разработанной модели составляют: ширина – 0,25 м, длина – 0,702 м, а высота колеблется от 0,12 до 0,145 м в разных участках конструкции (рис. 2).
Общая вместимость аппарата достигает 0,0222 м3.
Для того, чтобы обеспечить корректное численное решение в ANSYS Fluent, были заданы необходимые условия однозначности разработанной модели. В редакторе Gambit следующие граничные условия:
1. Вход давления (pressure inlet) и выход давления (pressure outlet) определяются перед началом вычислительного эксперимента либо могут быть скорректированы в процессе расчета.
2. Интерфейс (interface) связывает зону вращения перемешивающего устройства (представлено в виде прямоугольного элемента размерами 0,02 (высота) × 0,04 (длина) × 0,002 (ширина)) с основной моделью.
3. Стенка (wall) ограничивает рабочую область, внутри которой определяются основные зависимости.
Основное объемное условие – флюид (fluide).
При разработке модели флотационного аппарата в CAD-программе была создана специальная расчетная сетка, состоящая из тетраэдральных элементов. Такая структура сетки обусловлена особенностями геометрии устройства и необходимостью обеспечить высокую точность вычислений.

Рис. 3. Расчетная сетка исследуемой модели Примечание: составлен автором по результатам исследования
Особое внимание уделено зонам интенсивного перемешивания, где плотность сетки увеличена. Размер ячейки здесь составляет всего 0,002 м. Количество элементов в этой части модели достигло 185 508 штук. В остальных областях аппарата используются элементы большего размера – 0,0052 м. Их общая численность составила 939 954 единицы. Такой подход позволяет снизить нагрузку на вычислительную технику, сохраняя при этом достаточную степень точности моделирования даже в менее критичных зонах. Суммарное число тетраэдральных элементов всей расчетной сетки составило 1 125 462 элемента (рис. 3).
Для дальнейшей обработки в пакете CFD (computational fluid dynamics)-анализа ANSYS Fluent экспортируется в специальном формате MESH (*.msh), так как он оптимален для передачи сеточных данных между разными программами и поддерживает интеграцию с широким спектром моделей турбулентности, граничных условий и методов решения уравнений Навье – Стокса.
Процесс математического моделирования многофазного течения в рамках предложенной модели осуществляется посредством эйлеровского подхода [15]. Вода служит главной фазой, тогда как воздух играет роль второстепенного компонента. Поскольку воздушные пузырьки имеют незначительный размер (порядка 100 мкм), применима модель идеального газа, исключающая эффекты коалесценции. Объемная концентрация воздуха, поступающего через единственную точку входа, установлена равной 0,05 от общего расхода.
Учитывая небольшой диаметр впускных отверстий, высокие значения начальных скоростей, а также наличие специального перемешивающего устройства, выбрана классическая двухпараметрическая k – ε модель турбулентности, соответствующая числу Рейнольдса, примерно равному 75 000. Начальные условия предполагают подачу давления в систему, соответственно абсолютное давление устанавливается на уровне 0,2–0,25 от нормального атмосферного. Скорость вращения мешалки принята равной 3 об./с (угловая скорость 18,84 рад/с). Ускорение свободного падения установлено по вертикальной оси Y и имеет значение 9,81 м/с². Расчеты проводятся пошагово, причем каждый временной интервал длительностью 0,01 с требует 20 итераций.
Данные параметры обеспечивают адекватное описание реальных гидродинамических явлений, протекающих в комбинированном флотационном аппарате, и приближают виртуальную модель к характеристикам реального устройства.
Таким образом, разработанная компьютерная модель станет платформой для проведения вычислительных экспериментов в программном комплексе ANSYS Fluent. Результаты численного моделирования в дальнейшем необходимы как основа для усовершенствования флотатора комбинированного действия.
Заключение
Работа посвящена исследованию и созданию математической модели флотокомбайна, используемого для эффективной очистки сточных вод. Проведенное исследование позволило разработать эффективную модель комбинированного флотационного аппарата, которая должна воспроизводить гидродинамические режимы рабочего объема устройства. В исследовании определены программные продукты, необходимые для реализации инженерных расчетов. Определена оптимальная расчетная сетка, условия однозначности, обеспечивающие достоверность моделирования. Результат данного исследования стал основой для будущих научных работ и практических приложений в сфере охраны окружающей среды.
Конфликт интересов
Библиографическая ссылка
Сергиянский Е.В. РАЗРАБОТКА МОДЕЛИ ВЫЧИСЛИТЕЛЬНОЙ ГИДРОДИНАМИКИ МНОГОФАЗНОГО ТЕЧЕНИЯ В КОМБИНИРОВАННОМ ФЛОТАЦИОННОМ АППАРАТЕ // Международный журнал прикладных и фундаментальных исследований. 2026. № 1. С. 23-28;URL: https://applied-research.ru/ru/article/view?id=13783 (дата обращения: 14.05.2026).
DOI: https://doi.org/10.17513/mjpfi.13783

